Ersatzteile Iwaki MD-15R
Im profluid Shop einfach günstig online kaufen - für größere Bestellungen oder Staffelrabatte kontaktieren sie uns bitte für ein individuelles Angebot.
Das Angebot richtet sich ausschließlich an Gewerbetreibende.
Iwaki Ersatzteile MD-15R
| Artikel | Beschreibung | Menge | Bemerkung | Teile-Nr. |
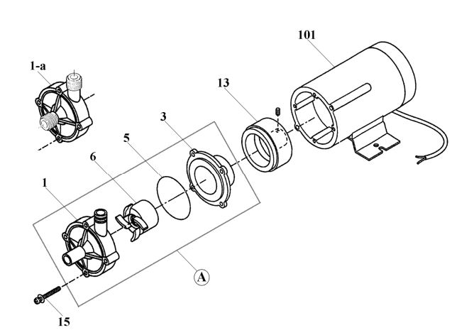
| 1 | Vordere Abdeckung (+Lager) Einheit | 1 | GFRPP+PTFE | MD0763 |
| 1-a | Vordere Abdeckung "M" (+Lager) Einheit | 1 | GFRPP+PTFE | MD0002 |
| 3 | Hintere Abdeckung (+Lager) Einheit | 1 | GFRPP+PTFE | MD0764 |
| 5 | O-Ring AS568-034 O-Ring AS568-034 | 1 1 | FKM EPDM | MD0007 MD0008 |
| 6 | Laufrad (+Spindle+Druckring) | 1 | GFRPP+CE+Magnet | MD0009 |
| 13 | Antriebsmagnet Einheit | 1 | Aluminium+Magnet | MD0832 |
| 15 | Schraube+W. <M4x28> | 4 | SUS304 equiv. | MD0017 |
| 101 | Motor [AC230V] | 1 | 10 W | MD0626 |
| A | Dichtungssatz | 1 1 | with FKM O-Ring with EPDM O-Ring | 11112207 - |
| A | Dichtungssatz, "M" Type | 1 1 | with FKM O-Ring with EPDM O-Ring | 11112122 - |